Nauji produktai
HIDRAULINĖ IŠILGINIO KĖLIMO TRAUKĖ - FENDT 90/45MIN.640 TIPAS (1) Φ 22/20
Naudojimas traktoriams:
Traktoriaus tipas:
FENDT
Traktoriaus modelis:
514 C
Bendra aprašymas:
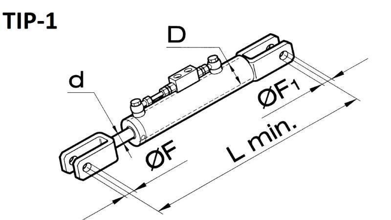
Hidraulinė viršuje sąsaja (angl. top side link arba side third point, vok. seitliche hubstrebenverstellung) iš esmės yra standartinis dviejų veiksmų hidraulinis cilindras su suvirintomis jungtimis, skirtas montuoti ant traktoriaus hidraulinių rankų. Ji tarnauja individualiam hidraulinio trijų taškų sistemos rankų aukščio reguliavimui. Taip pat gali tarnauti kaip papildomas rankų sustiprinimas arba didinant apkrovos talpą.
Visos hidraulinės viršuje sąsajos taip pat yra aprūpintos blokiniu vožtuvu, kuris tarnauja saugumui (jei pažeidžiama hidraulinė žarna, viršuje sąsajos cilindras lieka toje pačioje padėtyje, taigi ir traktoriaus priedas). Blokinis vožtuvas taip pat užtikrina, kad žarnos nebūtų po slėgiu ir taip neapkrautų hidraulinio vožtuvo traktoriuje važiuojant dėl vibracijų.





